在公稱筘幅2300mm以上的闊幅無梭織機上,一般采用并列雙軸送經方式。用于雙軸制送經的有機械式送經機構和電子式送經機構。結構形式有以下幾種:
一套機械式送經機構通過周轉輪系差速器來控制兩只織軸,協調兩只織軸的經紗放出量;使用兩套電子式送經機構,分別獨立地控制兩只織軸,這種形式常用于重厚織物的加工;一套電子式送經機構通過周轉輪系差速器來控制兩只織軸的經紗放出量,在輕薄、中厚織物加工時采用這種形式。
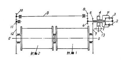
用于雙軸制送經的周轉輪系差速器工作原理如圖10-20所示。
在無梭織機上,由于經紗高張力的原因,送經機構實質上是一個放經機構,經紗放出的原動力來自經紗張力,送經機構只起著控制織軸經紗放出量的作用。在圖10-22中,蝸桿13的回轉角度控制著織軸的經紗放出量。
在周轉輪系差速器中,根據機械原理可知下列等式成立:
???????? (10-18)
式中:θ1、θ2、θH、ω1、ω2、ωH、ε1、ε2、εH——分別為齒輪1、2和轉臂H的角位移、角速度及角加速度(以放出經紗的轉向為正,反之為負);
θ3、ω3、ε3——齒輪3的自轉角位移、角速度、角加速度(以使織物1放出經紗的轉向為正、反之為負)。
分析輪系的運動可知,當蝸桿13發生回轉時ωH(t)≠0,齒輪3的運動由公轉和自轉疊加而成,齒輪3的公轉起著放經作用,這段時間稱為放經過程。在放經過程里,同時也發生著由齒輪3自轉所產生的兩織軸間經紗張力矩差異的自動調節;當蝸桿13停止轉動時ωH(t)≠0,齒輪3只有可能作自轉運動,齒輪3的自轉運動調節著兩織軸之間經紗張力矩的差異,這段時間稱為自調過程。因此,織軸的全部工作時間內,間隔地進行著放經和自調兩個過程。

圖10-20? 周轉輪系差速器的雙軸制送經工作原理
1、2、3-圓錐齒輪? H-周轉輪系的轉臂? 4-蝸輪? 5、6、8、10、11-齒輪
相關信息 







推薦企業
推薦企業
推薦企業