仲其文,徐傳功,孫淮海
1擺布機構的構思擺布機構是印染后整理行業中使用較多的機構之一。它被廣泛應用在燙光、燙剪、烘干、拉幅定型等紡織后整理設備上。因為不論是經過刷毛、起毛、剪毛加工后的織物,都必須經過擺布以后,方可轉入下道工序進行加工。作為擺布幅度的大小,將會直接影響到車間的現場管理。如果擺布幅度太小,對于同樣米數的織物經過擺布折疊后的高度就容易出現倒伏現象。這樣,給車間工序間的中轉運輸和車問正常的生產管理就帶來很大的不方便。目前,紡織后整理行業中常用的擺布機構有兩種:一種是普通型“曲柄搖桿”式擺布機構;另一種則是“小車”式寬幅擺布機構,即本文將要論述與采納的一種擺布機構。“曲柄搖桿”式擺布機構,由于采用的是最常見的四連桿機構,無論從設計到制造都省工、省時、省材料,所以目前仍然被廣泛采用,但是由于受其結構設計的制約,它的最大擺幅大約只能在在800mm左右,這對于一些要求擺幅在1500mm的后整理場合來說,就不能滿足使用現場管理的要求。為此,我們設計了下面由鏈條構成的“小車”式寬幅擺布機構。并作簡單介紹如下(見圖1):
圖1擺布機構1減速器,2過橋輥,3鏈輪甲,4鏈輪乙,5阻尼齒輪,6鏈輪丙,7連輪丁,8阻尼桿,15掛布軸,16包角導輥,17鏈輪座,20導布桿
2 寬幅擺布機構的組成輸入動力由減速器1(見圖1),經過安裝在過橋輥2上的鏈輪甲3,傳至安裝在阻尼桿8(共2件)上的鏈輪乙4,與鏈輪乙4安裝在統一阻尼桿8上的阻尼齒輪5,將運動傳至鏈輪丙6,再由鏈輪丙6將運動傳至安裝在鏈輪座17上的鏈輪丁7,這樣由鏈輪丙6、鏈輪丁7與鏈條l2共同組成的環狀鏈條環即可實現旋轉運動。在本結構中,織物的穿引路徑(進布、出布)如簡圖1所示,即織物經過過橋輥2、掛布輥15、包角導輥16、導布桿20進入接布裝
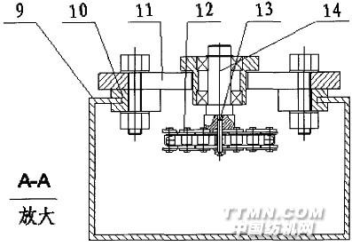
圖2鏈條與軸的連接9橫梁,10導向塊,11導向板,12鏈條,13鏈條銷,14循環軸3使用中應注意的問題A 擺布幅寬為L。用戶可以在橫梁9上的不同位置設置鏈輪座17的安裝孔,即改變中心距L的大小,以達到改變擺布幅寬的目的,實現用戶現場管理的需求。B 導向塊10與折彎橫梁9組成的原設計是滑動摩擦副,用戶也可以根據使用頻率來改變結構設計,在導向塊10的槽內安裝小的滾動軸承,變滑動摩擦為滾動摩擦,解決滑動摩擦副易磨損的問題。C 本文敘述的擺布結構,可以在設計需要擺布機構的后整理設備時一同設計,也可以設計成一獨立總成,讓用戶選配。
4結論根據客戶現場管理的要求,使用這種鏈式的后整理寬幅擺布機構解決了堆高易倒伏的問題。為此,我們在給客戶在實際需要中增加了一種選擇,也為企業的售后服務贏得了好評。
相關信息 







推薦企業
推薦企業
推薦企業